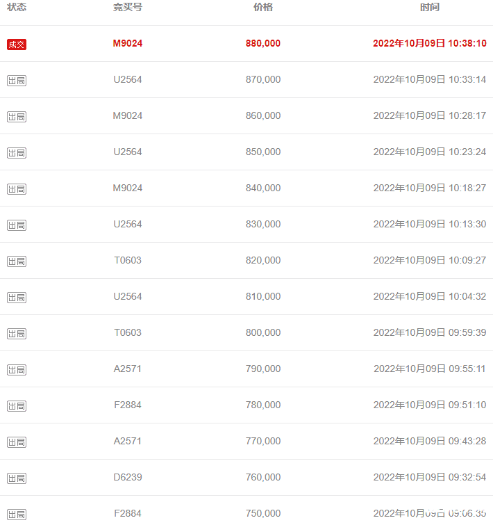
10月9日,浦江县黄宅镇紫金家园4幢3单元1001室房地产在淘宝阿里司法拍卖平台拍卖成功!该套房子起拍价:75万元,建筑面积112.34㎡。经过14轮竞价后,最终以88万元成交!单价约7833元/㎡!(在浦江房交网公众号回复“房价”查询浦江所有小区最新平均报价)

保证金:15万元,评估价:117万元,起拍价:75万元,加价幅度:1万元。
标的物介绍:
1. 浦江县黄宅镇紫金家园4幢3单元1001室房屋,建于 2011年,房屋总层数 19 ,所在楼层 10 ,朝向 东西 ,建筑结构 钢混 ,户型 2 室 2 厅1厨 1卫,建筑面积 112.34㎡,土地使用面积 9.49 ㎡,土地性质 出让 ,设计用途 住宅 ,房产登记日 2017年 09 月 26 日,土地使用终止 2076 年 1 月 5 日,装修状况 普通装修 ,现由 金禾 物业公司管理。另户门旁侧有搭建房1间,无产权,未记入评估报告,且本院已函告相关部门处置,截止2022年7月22日,暂无处理结果 2.权证编号情况:浙(2017)浦江县不动产权第0006246号 5.物业情况:截止2022年5月30日尚欠物业费 2156 元(仅作参考)竞买记录:

竞价结果确认书:

标的物实拍图:




